Stainless Steel Expansion Joints Threaded Connection display video
Product Introduction
Stainless Steel Expansion Joints Threaded Connection, also known as corrugated metal hoses, threaded flexible joints, or flexible pump joints, boast high physical strength, durability and excellent corrosion properties. It is suitable for a wide range of industrial applications. This product is also ideal for conveying all types of liquids and gases in a temperature range of -200°C to +500°C.
Our hoses are made of high-quality stainless steel and are suitable for high pressure, low to high temperature range, high resistance and high strength liquids, gases and other applications. Our various braided stainless steel hoses can withstand high pressure, low to high temperature ranges, and are the perfect choice for preventing chemicals, absorbing vibrations and noise, misaligned pipelines, and connecting moving parts in mechanical equipment.
Stainless Steel Expansion Joints Threaded Connection has the characteristics of corrosion resistance, high temperature resistance, strong compression resistance, good sealing, and easy installation and maintenance. The threaded connection method can make installation more convenient and adjust its length to adapt to different pipeline systems. In addition, they can maintain the normal operation of the pipeline system under various vibration, impact, and deflection conditions, thereby extending the service life of the pipeline system. Most importantly, they can effectively reduce the stress and pressure generated by thermal expansion and contraction in the pipeline system, thereby improving the safety and reliability of the pipeline system.
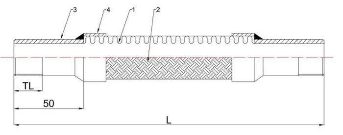
Product parameters

Material
|
Item |
Parts |
Material |
Remarks |
|
1 |
Flexible Tube |
SS 304 |
SS 316 / SS 321 |
|
2 |
Braid |
SS 304 |
SS 304 |
|
3 |
Threads |
SS 304 |
SS 316 / SS 321 |
|
4 |
Seal Rings |
SS 304 |
SS 316 |
Detailed parameters
|
Size |
Total Length |
O.D. |
Lateral Movement |
Working Pressure |
||
|
mm |
inch |
mm |
inch |
mm |
mm |
bar |
|
15 |
1/2 |
250 |
10 |
18.7 |
20 |
16 |
|
20 |
3/4 |
250 |
10 |
25.3 |
20 |
16 |
|
25 |
1 |
250 |
10 |
32.6 |
20 |
16 |
|
32 |
1-1/4 |
250 |
10 |
41.2 |
18 |
16 |
|
40 |
1-1/2 |
300 |
12 |
47.7 |
16 |
16 |
|
50 |
2 |
300 |
12 |
62.0 |
15 |
16 |
|
65 |
2-1/2 |
350 |
14 |
82.0 |
14 |
16 |
|
80 |
3 |
350 |
14 |
97.0 |
12 |
16 |
Advantage
1. High physical strength: Our expansion joints can withstand high pressure and high temperature fluctuations, ensuring long-term durability.
2. Corrosion-resistant: Our hoses are made of high-quality stainless steel that is resistant to corrosion, making them ideal for use in harsh environments.
3. Versatile: Our hoses are suitable for a wide range of applications, including industrial, chemical and petrochemical applications.
4. Threaded Connection: Our expansion joints feature a threaded connection, which ensures a strong and reliable joint between the hose and machine, preventing leaks and ensuring the safe transfer of liquids and gases.
Overall, our Stainless Steel Expansion Joints Threaded Connection is a high-quality, durable and reliable product that is ideal for use in a wide range of industrial applications
Product display





Hot Tags: stainless steel expansion joints threaded connection, China, suppliers, manufacturers, factory, wholesale, customized, buy, low price, made in China











