Flange adapter,also call AF type compensating joint, flange loose sleeve expansion joint, Universal flange adaptors
Used to connect pipes composed of different materials or specially designed for one material, flange adaptors join a flanged part to the spigot end of a pipe or tube. They come in anchoring or non-anchoring versions, while the self-anchoring (locking) products do not necessitate concrete anchor blocks.
|
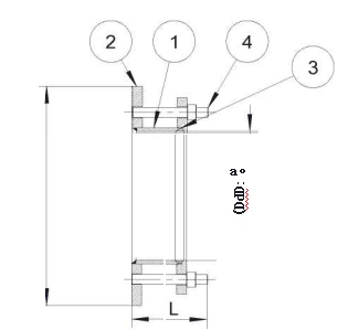
4 |
Tie rods |
Carbon Steel |
|
|
3 |
Seal ring |
EPDM |
|
|
2 |
Flange |
Carbon Steel |
|
|
1 |
Pipe |
Carbon Steel |
|
|
NO. |
Name |
Material |
Description |

Available pipes
UltraQuick flange adaptor
Very broad tolerance for use with a variety of materials
Can be fitted to grey cast iron, ductile cast iron and fibre cement pipes as well as to steel or PVC tubes
Available for continuous lengths of pipe with exterior diameters between DE 49 and 348 mm and a PFA of 16 bar
Substantial angular deflection at approximately 6°
Multi-pitch circle flange PN 10 and PN16
Quick GS, flange adaptor for ductile iron pipes
Available from DN 60 to DN 600 in the anchoring version and from DN 60 to DN 300 in the non-anchoring version
PFA of 16 bar for both versions
Multi-pitch circle flange PN 10 and 16
Quick GS, flange adaptor for ductile iron pipes with large diameters
Available from DN 350 to DN 1000 in a non-anchoring version
PFA of between 10 and 16 bar
Quick PVC automatic anchoring flange adaptor for PVC
Available from DN 40/DE 40 to DN 200/DE 225 in anchoring and non-anchoring versions
PFA of 16 bar for both versions
Multi-pitch circle flange with PN 10 and 16
A simple or anchored QuickBlutop range exists for possible assembly only on BLUTOP (DE 60 to DE 150 mm) pipes
Quick PE mechanical anchoring flange adaptor for PE
Available from DN 50/DE 63 to DN 400/DE 400
PFA of 16 bars
Multi-pitch circle flange with PN 10 and 16
|
Size |
Pipe OD Range(mm) |
L (mm) |
D (mm) |
Bolt |
|
|
Size |
QTY |
||||
|
DN50 |
59-72 |
75 |
165 |
M12x130 |
2 |
|
DN65 |
72-85 |
75 |
185 |
M12x130 |
2 |
|
DN80 |
88-103 |
76 |
185 |
M12x130 |
4 |
|
DN100 |
93-117 |
78 |
218 |
M12x130 |
4 |
|
DN100 |
105-122 |
78 |
218 |
M12x130 |
4 |
|
DN100 |
108-128 |
78 |
218 |
M12x130 |
4 |
|
DN125 |
125-140 |
78 |
250 |
M12x130 |
4 |
|
DN125 |
132-146 |
78 |
250 |
M12x130 |
4 |
|
DN125 |
138-153 |
78 |
250 |
M12x130 |
4 |
|
DN150 |
155-175 |
80 |
272 |
M12x130 |
4 |
|
DN150 |
158-182 |
80 |
272 |
M12x130 |
4 |
|
DN175 |
192-210 |
85 |
312 |
M12x130 |
4 |
|
DN200 |
218-235 |
85 |
335 |
M12x130 |
4 |
|
DN225 |
235-252 |
85 |
355 |
M12x130 |
4 |
|
DN225 |
250-267 |
85 |
405 |
M12x130 |
4 |
|
DN250 |
265-280 |
90 |
405 |
M12x130 |
6 |
|
DN250 |
272-289 |
90 |
405 |
M12x130 |
6 |
|
DN300 |
315-332 |
90 |
460 |
M12x130 |
6 |
|
DN300 |
322-339 |
90 |
460 |
M12x130 |
6 |
|
DN350 |
351-368 |
110 |
510 |
M16x180 |
8 |
|
DN350 |
374-391 |
110 |
510 |
M16x180 |
8 |
|
DN350 |
386-415 |
110 |
510 |
M16x180 |
8 |
|
DN400 |
400-429 |
110 |
580 |
M16x180 |
8 |
|
DN400 |
410-436 |
110 |
580 |
M16x180 |
8 |
|
DN400 |
418-435 |
110 |
580 |
M16x180 |
8 |
|
DN400 |
425-442 |
110 |
580 |
M16x180 |
8 |
|
DN450 |
455-472 |
115 |
640 |
M16x180 |
10 |
|
DN450 |
476-493 |
115 |
640 |
M16x180 |
10 |
|
DN500 |
500-432 |
120 |
690 |
M16x180 |
10 |
|
DN500 |
527-544 |
120 |
690 |
M16x180 |
10 |
|
DN600 |
600-630 |
130 |
820 |
M16x180 |
10 |
|
DN600 |
630-647 |
130 |
820 |
M16x180 |
10 |
| Details |
| 1)AWWA:C219. BS 534:1990, BS 4772:1998 SABS 1808-2:1998 |
| 2) DN 40mm-600mm |
| 3) PN10/16 |
| 4) suit for steel PVC .ductile iron, asbestos cement, GRP . Cast iron and concrete pipes |
| 5) use:for air, water ,sewer and gas pipelines |
| Material and coating |
| 1End rings-ductile iron to BS2789 grade 420/12, 500/7 |
| 2)Flange seats- ductile iron to BS2789 grade 420/12,500/7 |
| 3)Coating –fusion Bonded epoxy to SABS1217, minimum thickness 250 microns, colors in RAL5005, RAL5015, RAL3009, RAL9005, RAL9011 or others |
| 4)Bolts-steel to BS970 grade 070M20., carbon steel Grade 8.8, SS304 or SS316 Bolts available upon requests. |
| 5)Bolt coating-dacromet, or galvanized |
| 6) Gasket: |
| Rubber seal-EPDM Grade E to BS2494 1990 Type W&D |
Hot Tags: flanged adaptor, China, suppliers, manufacturers, factory, wholesale, customized, buy, low price, made in China











